迪泰尔仪表

LZB-( )W(B)(F)玻璃转子流量计

玻璃转子流量计

 

    该系列流量计用于检测和调节微小流量,结构轻巧,分为带调节阀( WB 型)和不带调节阀( W 型)两种。还可根据客户使用情况制造耐腐型( WBF 和 WF 型)。连接方式分为软管连接和螺纹连接。

1. 型号规格及主要技术参数

公称

通径 DN  

mm

型号

范围度

测量范围

准确度等级

锥管长度 mm

允许被测流体

水 (20 ℃ )

空气  (1.013 × 10 5 Pa20 ℃ )

温度

压力

MPa

3

LZB-3W(F)

LZB-3WB(F)

10:1

0.4 ~ 4l min   

0.6 ~ 6ml min

1 ~ 10ml min

2.5 ~ 25ml min

4 ~ 40ml min

  6 ~ 60ml min

10 ~ 100ml min

6 ~ 60ml min

10 ~ 100ml min

16 ~ 160ml min

0.03 ~ 0.3L min

0.06 ~ 0.6L min

0.1 ~ 1L min

0.15 ~ 1.5L min

 

4 级

耐腐型为 6 级  

 

100

-20 ~ 120 ℃

≤ 0.2

4

LZB-4W(F)

LZB-4WB(F)

16 ~ 160ml min

25 ~ 250ml min

40 ~ 400ml min

0.3 ~ 3L min

0.6 ~ 6L min

0.7 ~ 7L min

4 级

耐腐型为 6 级  

6

LZB-6W(F)

LZB-6WB(F)

40 ~ 400ml min

60 ~ 600ml min

0.1 ~ 1L min

0.7 ~ 7L min

1 ~ 10L min

1.5 ~ 15L min

 

2.5 级

耐腐型为 4 级

10

LZB-10W(F)

LZB-10WB(F)

0.1 ~ 1L min

0.16 ~ 1.6L min

3 ~ 30L min

5 ~ 45L min

100

2. 外形及安装连接尺寸 :

   流量计有带调节阀 (WB 型 ) 和不带调节阀 (W 型 ) 二种形式 , 其外形图见图一、图二,安装连接尺寸见表 1

图一

玻璃转子流量计

图二

玻璃转子流量计

表 1 

  单位: mm

型号

A

B

C

D

M

E*

软管接嘴

N

金属管接嘴

设备安装孔

外螺纹

G

h

LZB-3W(F)

LZB-3WB(F)

23

136

52

22.5

116

< 74

Φ 8

M10*1

Φ 6.2

SR4

Φ 11

LZB-4W(F)

LZB-4WB(F)

LZB-6W(F)

LZB-6WB(F)

LZB-10W(F)

LZB-10WB(F)

56

26.5

< 78

Φ 10

M12*1

Φ 8.2

SR5

注: *WB 专有

3. 流量计接触测量流体的零部件材质

浮子

基座

针阀

止档

O 形圈及密封垫片

普通型

不锈钢或玛瑙

黄铜镀铬

不锈钢

尼龙

橡胶

耐腐性

不锈钢

PTFE

氟橡胶

 

LZB/LZJ (DN4-10 )玻璃转子流量计

玻璃转子流量计

该系列流量计具有结构简单,牢固,压力损失小等特点。耐腐型采用不锈钢材料或衬氟塑料,密封件可选氟橡胶或聚四氟乙烯等,对绝大部分常用酸、碱、氧化剂、有机溶剂等有较强的耐腐蚀性。 DN4-10 采用软管连接,亦可根据客户需要设计、制造特殊安装方式。

1. 型号规格及主要参数见下表  单位: mm

公称通径( mm )

型号

测量范围

准确度等级

允许被测流体状况

水 20 ℃

空气 20 ℃ 101325Pa

温度(℃)

压力等级( MPa )

4

LZB-4

LZB-4F

1 ~ 10L/h

1.6 ~ 16L/h

2.5 ~ 25L/h

16 ~ 160L/h

25 ~ 250L/h

40 ~ 400L/h

4 级

耐腐型为 6 级

- 20 ~ 120

≤ 1

6

LZJ-6

LZJ-6F

2.5 ~ 25L/h

4 ~ 40L/h

6 ~ 60L/h

40 ~ 400L/h

60 ~ 600L/h

100 ~ 1000L/h

2.5 级

耐腐型为 4 级

10

LZJ-10

LZJ-10F

6 ~ 60L/h

10 ~ 100L/h

16 ~ 160L/h

100 ~ 1000L/h

160 ~ 1600L/h

250 ~ 2500L/h

2. 外形、安装连接方式及连接尺寸如下:   

单位: mm

玻璃转子流量计

3. 流量计接触测量流体的零部件材质

零件名称

普通型材质

耐腐型材质

针阀

不锈钢

针阀座

黄铜镀铬

不锈钢

下基座

黄铜镀铬

不锈钢

止档

PTFE

顶紧器

黄铜镀铬

不锈钢

闷头

黄铜镀铬

不锈钢

上基座

黄铜镀铬

不锈钢

密封片

橡胶

氟橡胶

锥管

硼硅酸盐玻璃

浮子

不锈钢或玛瑙

接嘴

黄铜镀铬

不锈钢

 

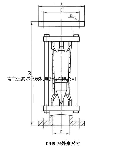
LZB/LZJ (DN15-100)拉杆式流量计

玻璃转子流量计

拉杆式流量计具有结构简单,牢固,压力损失小等特点。耐腐型采用不锈钢材料或衬氟塑料,密封件可选氟橡胶或聚四氟乙烯等,对绝大部分常用酸、碱、氧化剂、有机溶剂等有较强的耐腐蚀性。 DN4-10 采用软管连接,亦可根据客户需要设计、制造特殊安装方式。

1. 型号规格及主要技术参数

公称通径( mm )

型号

测量范围

准确度等级

允许被测流体状况

水 20 ℃

空气 20 ℃ 101325Pa

温度(℃)

压力等级( MPa )

15

LZB-15

LZB-15F

10 ~ 100L/h

16 ~ 160L/h

25 ~ 250L/h

40 ~ 400L/h

60 ~ 600L/h*

0.25 ~ 2.5m3/h

0.4 ~ 4m3/h

0.6 ~ 6m3/h

1.2 ~ 12m3/h

2 ~ 20m3/h*

2.5 级

耐腐型为 4 级

-20 ~ 120

≤ 0.6

25

LZB-25

LZB-25F

40 ~ 400L/h

60 ~ 600L/h

100 ~ 1000L/h

160 ~ 1600L/h

250 ~ 2500L/h*

1 ~ 10m3/h

1.6 ~ 16m3/h

2.5 ~ 25m3/h

5 ~ 50m3/h

6 ~ 60m3/h*

1.5 级

耐腐型为 4 级

40

LZB-40

LZB-40F

160 ~ 1600L/h

250 ~ 2500L/h

400 ~ 4000L/h*

4 ~ 40m3/h

6 ~ 60m3/h

12 ~ 120m3/h*

50

LZB-50

LZB-50F

400 ~ 4000L/h

600 ~ 6000L/h

1000 ~ 10000L/h*

10 ~ 100m3/h

16 ~ 160m3/h

30 ~ 300m3/h*

80

LZB-80

LZB-80F

1000 ~ 10000L/h

1600 ~ 16000L/h

2500 ~ 25000L/h

3600 ~ 36000L/h*

25 ~ 250m3/h

40 ~ 400m3/h

60 ~ 600m3/h

100 ~ 1000m3/h*

≤ 0.4

100

LZB-100

LZB-100F

5 ~ 25m3/h

8 ~ 40m3/h

20 ~ 60m3/h

40 ~ 100m3/h*

120 ~ 600m3/h

200 ~ 1000m3/h

600 ~ 1600m3/h

1200 ~ 3000m3/h*

2. 外形及安装连接尺寸

玻璃转子流量计

玻璃转子流量计

公称通径( mm )

A

B

C

D

15

Φ 95

Φ 65

4- Φ 14

Φ 15

25

Φ 115

Φ 85

Φ 25

40

Φ 145

Φ 110

4- Φ 18

Φ 40

50

Φ 160

Φ 125

Φ 50

80

Φ 185

Φ 150

Φ 80

100

Φ 205

Φ 170

Φ 100

注:法兰标准 GB/T9119-2000, 也可按照用户要求定做。

3. 流量计接触测量流体的零部件材质

零件名称

普通型材质

耐腐型材质

密封片

橡胶

氟橡胶

锥管

硼硅酸盐玻璃

浮子

不锈钢、铝、 PTFE

外包氟塑料

止档

尼龙

PTFE

基座

铸铁涂防腐漆

铸铁内衬氟塑料

南京迪泰尔仪表机电设备有限公司 地址:大光路188号锦江丽舍 电话:025-84465922 / 84456840/84585946 QQ:825520616
税号:91320104762103508L 帐号:01570120030000012 开户行:南京银行龙蟠路支行
备案号:苏ICP备12032525号